本實用新型涉及硬密封蝶閥領域,特別涉及一種硬密封蝶閥。

背景技術:
硬密封蝶閥又叫翻板閥,是一種結構簡單的調節閥,同時也可用于低壓管道介質的開關控制,硬密封蝶閥在管道上主要起切斷和節流作用。隨著密封蝶閥的種類越來越豐富,技術方向也朝著如何讓人們使用更方便的方向發展;現有的硬密封蝶閥在使用時存在一定的弊端,由于硬密封蝶閥為偏心金屬密封結構,密封形式大多數為金屬對金屬密封,承壓能力弱,時間久了密封性能不夠高,閥桿與蝶板連接處容易發生崩斷,導致調節性能不夠好,在使用過程中帶來了一定的不利影響,為此,我們提出一種硬密封蝶閥。
技術實現要素:
本實用新型的主要目的在于提供一種硬密封蝶閥,可以有效解決背景技術中的問題。
為實現上述目的,本實用新型采取的技術方案為:
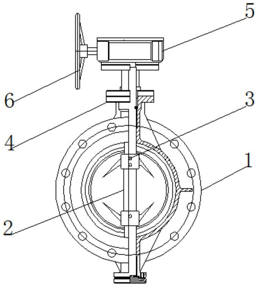
一種硬密封蝶閥,包括法蘭,所述法蘭的內部貫穿連接有連接桿,所述連接桿的上方外表面固定連接有軸銷,所述軸銷的上方外表面固定連接有第一支架,所述第一支架的上端外表面設置有蝸輪傳動器與搖輪,且搖輪活動安裝在蝸輪傳動器的一側外表面,所述蝸輪傳動器的下方外表面固定連接有第二支架,所述第二支架的下方固定安裝有閥體,所述閥體的上方外表面設置有上閥桿,所述上閥桿的一側外表面活動固定安裝有螺栓,所述上閥桿的另一側外表面活動固定安裝有填料壓蓋,所述填料壓蓋的下方設置有對開環,所述對開環的下方外表面設置有O型圈,所述上閥桿的下方外表面固定連接有下閥桿,所述下閥桿的外側設置有蝶板與壓環,且蝶板位于壓環的下方外表面,所述閥體的下方外表面固定安裝有下端蓋,所述下端蓋的上方設置有
金屬墊片,所述蝶板的外側固定連接有壓板,所述壓板的外側表面靠近蝶板的上方設置有多層次密封圈,所述多層次密封圈的上方外表面設置有閥體密封圈。
優選的,所述第一支架與第二支架的兩側外表面均設置有螺釘,并且與蝸輪傳動器固定連接,所述上閥桿通過連接桿與下閥桿固定連接。
優選的,所述上閥桿的周圍外表面設置有軸套,所述螺栓的結構由螺柱、螺母、弾墊組成。
優選的,所述軸銷的數量為兩個,且軸銷位于連接桿的上下兩側,所述軸銷與連接桿相互平行。
優選的,所述蝸輪傳動器與上閥桿的銜接處設置有填料,所述下端蓋的上方通過螺釘與閥體固定安裝。
優選的,所述金屬墊片的數量為兩個,所述壓板的結構為雙層板。
與現有技術相比,本實用新型具有如下有益效果:該硬密封蝶閥,通過設有軸銷、多層次密封圈、壓板,能夠直接通過多層次密封圈完成對閥體良好的關閉密封性能和流體控制性能,軸銷有很好的固定性、穩定性,承壓能力高,避免了傳動器與閥體之間意外斷裂,壓板為雙層結構,能夠保證閥桿與蝶板處不會因為密封性不夠高而發生崩斷,為適用不同的密封蝶閥,帶來更好的使用前景,整個裝置簡單,操作方便,相對于金屬密封裝置節約了成本,密封和穩定的效果相對于傳統方式更好。
附圖說明
圖1為本實用新型一種硬密封蝶閥的整體結構示意圖。
圖2為本實用新型一種硬密封蝶閥的剖視圖。
圖3為本實用新型一種硬密封蝶閥蝶板的放大視圖。
圖中:1、法蘭;2、連接桿;3、軸銷;4、第一支架;5、蝸輪傳動器;6、搖輪;7、第二支架;8、上閥桿;9、螺栓;10、填料壓蓋;11、對開環;12、O型圈;13、下閥桿;14、蝶板;15、壓環;16、閥體;17、下端蓋;18、金屬墊片;19、壓板;20、多層次密封圈;21、閥體密封圈。
具體實施方式
為使本實用新型實現的技術手段、創作特征、達成目的與功效易于明白了解,下面結合具體實施方式,進一步闡述本實用新型。
如圖1-3所示,一種硬密封蝶閥,包括法蘭1,法蘭1的內部貫穿連接有連接桿2,連接桿2的上方外表面固定連接有軸銷3,軸銷3的上方外表面固定連接有第一支架4,第一支架4的上端外表面設置有蝸輪傳動器5與搖輪6,且搖輪6活動安裝在蝸輪傳動器5的一側外表面,蝸輪傳動器5的下方外表面固定連接有第二支架7,第二支架7的下方固定安裝有閥體16,閥體16的上方外表面設置有上閥桿8,上閥桿8的一側外表面活動固定安裝有螺栓9,上閥桿8的另一側外表面活動固定安裝有填料壓蓋10,填料壓蓋10的下方設置有對開環11,對開環11的下方外表面設置有O型圈12,上閥桿8的下方外表面固定連接有下閥桿13,下閥桿13的外側設置有蝶板14與壓環15,且蝶板14位于壓環15的下方外表面,閥體16的下方外表面固定安裝有下端蓋17,下端蓋17的上方設置有金屬墊片18,蝶板14的外側固定連接有壓板19,壓板19的外側表面靠近蝶板14的上方設置有多層次密封圈20,多層次密封圈20的上方外表面設置有閥體密封圈21。
第一支架4與第二支架7的兩側外表面均設置有螺釘,并且與蝸輪傳動器5固定連接,上閥桿8通過連接桿2與下閥桿13固定連接;上閥桿8的周圍外表面設置有軸套,螺栓9的結構由螺柱、螺母、弾墊組成;軸銷3的數量為兩個,且軸銷3位于連接桿2的上下兩側,軸銷3與連接桿2相互平行;蝸輪傳動器5與上閥桿8的銜接處設置有填料,下端蓋17的上方通過螺釘與閥體16固定安裝;金屬墊片18的數量為兩個,壓板19的結構為雙層板。
需要說明的是,本實用新型為一種硬密封蝶閥,在使用時,主要由鋼筆法蘭1、連接桿2與軸銷3等幾大部分組成,在使用時,主要是以蝶板14的轉動來完成管道的開啟或關閉,當蝶板14旋轉到九十度時,閥門呈開啟狀態,第一支架4與第二支架7的兩側外表面均設置有螺釘,并且與蝸輪傳動器5固定連接,閥體16的上方外表面設置有上閥桿8,上閥桿8與下閥桿13的中間通過連接桿2固定連接,上閥桿8的周圍外表面設置有軸套,壓板19的外側表面靠近蝶板14的上方設置有多層次密封圈20,能夠直接通過多層次密封圈20完成對閥體16良好的關閉密封性能和流體控制性能,軸銷3的數量為兩個,且軸銷3平行安裝于連接桿2的上下兩側,有很好的固定性、穩定性,承壓能力高,避免了傳動器與閥體16之間意外斷裂,蝶板14的外側固定連接有壓板19,壓板19為雙層結構,能夠保證閥桿與蝶板14處不會因為密封性不夠高而發生崩斷,上閥桿8的另一側外表面活動固定安裝有填料壓蓋10,填料壓蓋10的下方設置有對開環11,對開環11的下方外表面設置有O型圈12,對于閥體16進行了進一步的有效密封,結構簡單,較為實用。
以上顯示和描述了本實用新型的基本原理和主要特征和本實用新型的優點。本行業的技術人員應該了解,本實用新型不受上述實施例的限制,上述實施例和說明書中描述的只是說明本實用新型的原理,在不脫離本實用新型精神和范圍的前提下,本實用新型還會有各種變化和改進,這些變化和改進都落入要求保護的本實用新型范圍內。本實用新型要求保護范圍由所附的權利要求書及其等效物界定。